Оптові продажі товарів -info@topunity.com.ua
1 177 грн

Бездротовий маршрутизатор Mikrotik hAP lite (RB941-2ND)

Є в наявності
RB941-2nD
Відгуки: (0)
1 177 грн
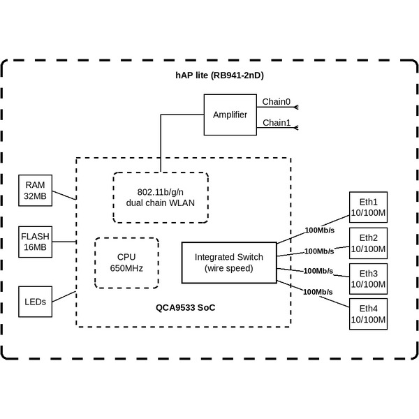
MikroTik hAP lite (RB941-2nD) — це компактний бездротовий маршрутизатор, який забезпечить якісним Wi-Fi покриттям квартиру чи невеликий офіс. Перевірена роками якість маршрутизаторів MikroTik виростила мільйони прихильників бренду, яким подобається стабільність роботи, широкий функціонал та лаконічний дизайн пристроїв. MikroTik hAP lite оснащений потужними вбудованими антенами і готовий до роботи прямо з коробки. -4 порти Ethernet -Wi-Fi на частоті 2,4 ГГц (підтримка стандарту 802.11n) -Підтримка WPS кнопкою -Роз'єм живлення Micro USB Безпека даних Фірмова операційна система RouterOS захищатиме ваші дані від атак зловмисників. Оновлення RouterOS відбуваються безкоштовно, але не автоматично. Для оновлення потрібно увійти до додатку і оновити прошивку. Без «стирчащих» антен Дві вбудовані антени забезпечать якісним Wi-Fi покриттям квартиру чи невеликий офіс. Більше жодних дратуючих зовнішніх антен, які складно вписати у дизайн вашого інтер’єру. Також можна не переживати, що антени зламають діти чи погризуть домашні улюбленці. Живлення через Micro USB Роз'єм живлення Micro USB дозволяє живити ваш роутер від будь-якої сучасної зарядки для мобільного телефону (не менше 5V, 2А). Також можна використати PowerBank і перетворити MikroTik hAP lite TC на портативний роутер, або забезпечити йому безперебійну роботу за відсутності електрики. Підтримка WPS Маршрутизатор підтримує технологію WPS, що запускається за допомогою кнопки на пристрої. За допомогою WPS можна підключати пристрої до Wi-Fi роутера без необхідності вводити пароль від бездротової мережі. Зручне кріплення Роутер можна закріпити на стіну за допомогою кріплень, що входять у комплектацію 3 режими роботи на вибір -Роутер або точка доступу для роздачі інтернету по Wi-Fi -Міст (або клієнт) для отримання існуючого сигналу Wi-Fi та для подальшої передачі сигналу по дроту -Репітер (повторювач сигналу) для розширення бездротового покриття. Додаток MikroTik Home Додаток MikroTik Home дозволяє зручно керувати роутером і підключеними до мережі пристроями. Що можна зробити у додатку? -налаштувати Wi-Fi -налаштувати Інтернет -керувати підключенням домашніх пристроїв -обмежити доступ дітей до мережі -налаштувати переадресацію портів Широкий функціонал для досвідчених користувачів Використовуючи веб-інтерфейс, CAPsMAN або мобільний додаток MikroTik Pro можна отримати доступ до повної панелі налаштувань. Комплектація: MikroTik hAP lite, блок живлення.
Характеристики
Flash пам'ять
16 Мб
LAN
4
Доставка
Київ/Харків/Суми/Одеса /Дніпро/Запоріжжя/Львів/Кривий Ріг/Миколаїв/Вінниця/Херсон/Чернігів/Полтава/Черкаси/Хмельницький/Чернівці/Житомир/Кропивницький/Рівне/Івано-Франківськ/Тернопіль/Кременчук/Луцьк/Біла Церква/Краматорськ/Ужгород/ Нікополь/Павлоград
Особливості
USB-порт
Тип
маршрутизатор
Швидкість Wi-Fi
300 Мбіт/с
Додатково
LED-індикатор
Захист інформації
WPS
Рівень ліцензії
4
Можливість підключення зовнішніх LTE антен
нет
Режими роботи
провідний маршрутизатор
Інтерфейси
4х 10/100 Мбіт/с
Операційна система
RouterOS
Кількість антен
2
Процесор
Atheros
ROM/RAM
32 МБ
Частота
2.4 ГГц
Живлення
MicroUSB
Інтерфейс підключення до Інтернету (WAN)
10/100BASE-TX Ethernet (MDI/MDIX)
MikroTik hAP lite (RB941-2nD) — це компактний бездротовий маршрутизатор, який забезпечить якісним Wi-Fi покриттям квартиру чи невеликий офіс. Перевірена роками якість маршрутизаторів MikroTik виростила мільйони прихильників бренду, яким подобається стабільність роботи, широкий функціонал та лаконічний дизайн пристроїв. MikroTik hAP lite оснащений потужними вбудованими антенами і готовий до роботи прямо з коробки. -4 порти Ethernet -Wi-Fi на частоті 2,4 ГГц (підтримка стандарту 802.11n) -Підтримка WPS кнопкою -Роз'єм живлення Micro USB Безпека даних Фірмова операційна система RouterOS захищатиме ваші дані від атак зловмисників. Оновлення RouterOS відбуваються безкоштовно, але не автоматично. Для оновлення потрібно увійти до додатку і оновити прошивку. Без «стирчащих» антен Дві вбудовані антени забезпечать якісним Wi-Fi покриттям квартиру чи невеликий офіс. Більше жодних дратуючих зовнішніх антен, які складно вписати у дизайн вашого інтер’єру. Також можна не переживати, що антени зламають діти чи погризуть домашні улюбленці. Живлення через Micro USB Роз'єм живлення Micro USB дозволяє живити ваш роутер від будь-якої сучасної зарядки для мобільного телефону (не менше 5V, 2А). Також можна використати PowerBank і перетворити MikroTik hAP lite TC на портативний роутер, або забезпечити йому безперебійну роботу за відсутності електрики. Підтримка WPS Маршрутизатор підтримує технологію WPS, що запускається за допомогою кнопки на пристрої. За допомогою WPS можна підключати пристрої до Wi-Fi роутера без необхідності вводити пароль від бездротової мережі. Зручне кріплення Роутер можна закріпити на стіну за допомогою кріплень, що входять у комплектацію 3 режими роботи на вибір -Роутер або точка доступу для роздачі інтернету по Wi-Fi -Міст (або клієнт) для отримання існуючого сигналу Wi-Fi та для подальшої передачі сигналу по дроту -Репітер (повторювач сигналу) для розширення бездротового покриття. Додаток MikroTik Home Додаток MikroTik Home дозволяє зручно керувати роутером і підключеними до мережі пристроями. Що можна зробити у додатку? -налаштувати Wi-Fi -налаштувати Інтернет -керувати підключенням домашніх пристроїв -обмежити доступ дітей до мережі -налаштувати переадресацію портів Широкий функціонал для досвідчених користувачів Використовуючи веб-інтерфейс, CAPsMAN або мобільний додаток MikroTik Pro можна отримати доступ до повної панелі налаштувань. Комплектація: MikroTik hAP lite, блок живлення.

bezdrotoviy marshrutizator mikrotik hap lite rb941-2nd, rb941-2nd, mikrotik, marshrutizatori ta modemi 3g, 4g

Характеристики
Flash пам'ять
16 Мб
LAN
4
Доставка
Київ/Харків/Суми/Одеса /Дніпро/Запоріжжя/Львів/Кривий Ріг/Миколаїв/Вінниця/Херсон/Чернігів/Полтава/Черкаси/Хмельницький/Чернівці/Житомир/Кропивницький/Рівне/Івано-Франківськ/Тернопіль/Кременчук/Луцьк/Біла Церква/Краматорськ/Ужгород/ Нікополь/Павлоград
Особливості
USB-порт
Тип
маршрутизатор
Швидкість Wi-Fi
300 Мбіт/с
Додатково
LED-індикатор
Захист інформації
WPS
Рівень ліцензії
4
Можливість підключення зовнішніх LTE антен
нет
Режими роботи
провідний маршрутизатор
Інтерфейси
4х 10/100 Мбіт/с
Операційна система
RouterOS
Кількість антен
2
Процесор
Atheros
ROM/RAM
32 МБ
Частота
2.4 ГГц
Живлення
MicroUSB
Інтерфейс підключення до Інтернету (WAN)
10/100BASE-TX Ethernet (MDI/MDIX)
Відгуки
0/ 5
середній рейтинг товара
0
0
0
0
0
Немає відгуків про цей товар. Станьте першим, залиште свій відгук.

Немає питань про даний товар, станьте першим і задайте своє питання.

Рекомендовані товари
Ви дивилися